Перейти на Ютуб канал для перегляду відео
Відео із субтітрами. Через "Автоматичний переклад" ви можете вибрати собі зручну мову




Steel cover, welded. The cover body is cast steel, with a steel flange welded on top.
The cover is cast iron, with 10 through holes around the perimeter for the cylinder cover mounting studs.
The cover is attached to the cylinder cover with two bolts.
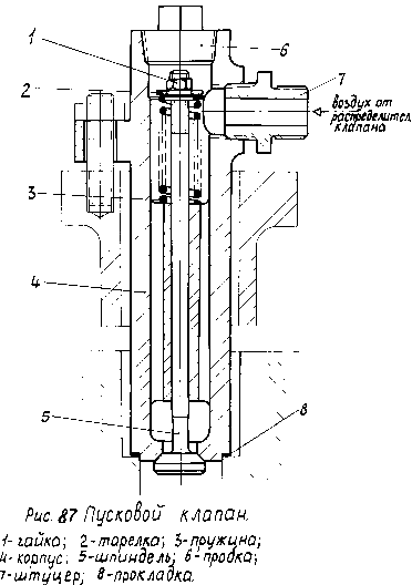
The cover contains a gas inlet valve, a starting valve, 2 spark plugs and an indicator valve.