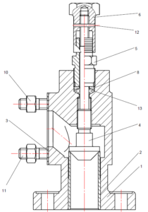
MANUAL ADJUSTMENT VALVE

  • Pos.DesignationNameQuantity
  • 2401-4204-1Manual adjustment valve
  • 12401-420401Valve body1
  • 22401-420402Sleeve1
  • 32401-420403Gasket1
  • 42401-420404-1Spindle1
  • 52401-420405Gland nut1
  • 62401-420406Resolving nut1
  • 8610-420706Thrust washer1
  • 10Nut M12 6H.8 GOST 59154
  • 11HK-031-1Pin M12-6gх45.66 GOST 220344
  • 12HK-082-1Pin 2-4×25 GOST 31291
  • 13Through braid filling AP316 GOST 5152 L=2001
  • Purpose of the product:
    The manual adjustment valve is designed to regulate the amount of fuel gas supplied to the engine cylinder. Regulation is carried out by rotating the spindle flywheel. To determine the size of the opening of the valve, a disc with divisions is attached to the end of the body, and an arrow is attached to the spindle. Gas working pressure 0.4 ± 0.02 MPa.Material: Cast iron, Steel
Request price